ความลับของฮอนด้า กับสิทธิบัตรเครื่องยนต์ซุปเปอร์ชาร์จที่ถูกเปิดเผย

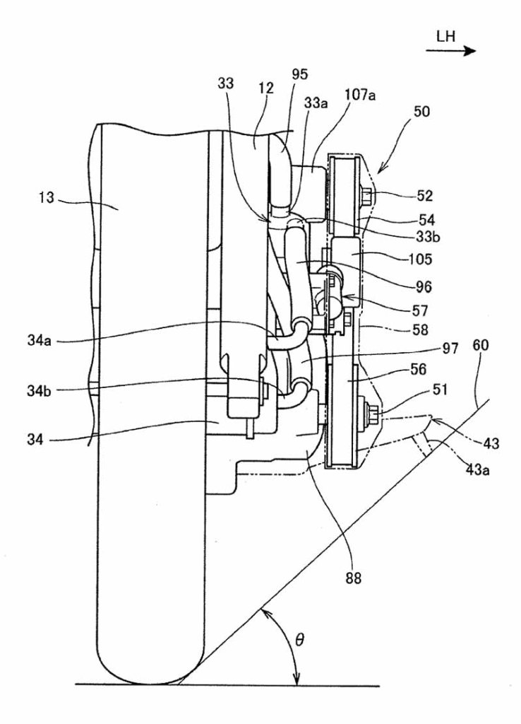
Honda มีแผนการใหม่ ที่จะปั้นจักรยานยนต์พลังซุปเปอร์ชาร์จ เพื่อเพิ่มพละกำลังให้กับเครื่องยนต์ โดยจากภาพสิทธิบัตร จะเห็นได้ว่ามีการติดตั้งอยู่ที่ด้านซ้ายของเครื่องยนต์ โดยขุมพลังชุดใหม่นี้จะเป็นพละกำลังให้กับจักรยานยนต์รุ่นใหม่ในไม่กี่ปีข้างหน้า
ภาพวาดสิทธิบัตรนี้ เป็นเครื่องยนต์แบบใหม่ที่ประกอบด้วยระบบซุปเปอร์ชาร์จ จากข้อมูลที่ได้รับบอกว่า ขุมกำลังนี้จะเป็นเครื่องยนต์ที่คลอบคลุมรถหลายรุ่นของฮอนด้าในอนาคต ตั้งแต่รถขนาดเล็ก ขนาดกลาง และซุปเปอร์ไบค์

แต่สิ่งที่แน่นอนคือ ระบบซุปเปอร์ชาร์จใหม่นี้ มีแนวโน้มที่จะใช้ในรถ Road ฺBike ที่ไม่ใช่เพียงแค่รถขนาด 600 ซีซี และ 800 ซีซี แต่คลอบคลุมถึงรถที่มีความจุขนาดใหญ่อีกด้วย
Source Cr.: Morebikes
อ่านข่าว New Bikes เพิ่มเติมได้ที่นี่
อ่านข่าว Honda เพิ่มเติมได้ที่นี่
เรื่องราว ข่าวสองล้อที่สาวกไบค์เกอร์ต้องรู้ที่
Website : motowish.com
Facebook : facebook.com/motowish


