CFmoto ผุดไอเดีย “วิงเล็ทไฟฟ้า” กาง-พับ ได้อัตโนมัติ ตามความเร็ว

“วิงเล็ท” คือลูกเล่นที่มีทั้งข้อดีและข้อเสียในการใช้งานจริง และเพื่อลดปัญหาเหล่านี้ ทาง CFmoto จึงผุดไอเดียใหม่ ด้วยการเสริมกลไกระบบคุมตำแหน่งด้วยไฟฟ้าเข้าไป เพื่อให้มันสามารถทำงานได้อย่างถูกจังหวะจะโคนมากขึ้น
อย่างที่ทุกคนพอจะทราบกัน ว่า “วิงเล็ท” คือชิ้นส่วนที่ถูกสร้างขึ้นมาเพื่อสร้างแรงกดจากอากาศที่ไหลผ่านตัวรถ ซึ่งช่วยให้ตัวรถมีความนิ่งมากขึ้นขณะเคลื่อนที่ด้วยความเร็วสูง ทว่าในทางกลับกัน มันก็อาจจะสร้างแรงต้านอากาศมากเกินไป เมื่อถึงความเร็วระดับหนึ่งจนทำให้รถไม่สามารถไหลความเร็วปลายเพิ่มเติมได้

เช่นเดียวกันในช่วงความเร็วต่ำ วิงเล็ทที่ถูกติดตั้งลงไป ก็อาจจะเกะกะ จนไปเกี่ยวยานพานะที่จอดอยู่ใกล้ๆ หรือไม่ก็มีคนเดินมาเกี่ยวจนวิงเล็ทหักและเกิดความเสียหายอย่างน่าเสียดายได้อีก
ดังนั้นเพื่อแก้ปัญหาตรงนี้ ทาง CFmoto จึงได้ผุดไอเดียที่จะทำให้ชุดวิงเล็ทติดรถ สามารถพับในช่วงความเร็วต่ำ เพื่อลดความเทอะทะและเกะกะช่องจราจร ไม่ก็ช่องจอด แล้วจึงค่อยกางออกมา เมื่อรถกำลังเคลื่อนที่ด้วยความเร็วที่ตัววิงเล็ทสามารถสร้างแรงกดหน้ารถจากอากาศที่ไหลผ่านได้ดีพอ

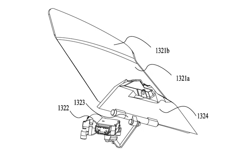
สำหรับวิธีการทำงานของชุดวิงเล็ทไฟฟ้าที่ว่านี้ หากไม่นับเรื่องของการอาศัยข้อมูลความเร็วรถ เพื่อเอามาประมวลผลจังหวะที่วิงเล็ทควรพับหรือกางออก ตัววิงเล็ทก็จะถูกออกแบบให้มีลักษณะเป็นครีบที่ตัวฐานเป็นกลไกแบบบานพับ โดยที่ตัวข้อต่อบานพับ ก็จะถูกยึดกับขาโยง ซึ่งจะต่อเข้ากับมอเตอร์ไฟฟ้าขนาดจิ๋ว เพื่อคุมตำแหน่งของวิงเล็ทอีกที
โดยทาง CFmoto ยังระบุอีกว่า พวกเขาตั้งใจที่จะให้วิงเล็ทไฟฟ้า ถูกกางออกมาในช่วงความเร็วราวๆ 60-100 กิโลเมตร/ชั่วโมง ขึ้นไป เนื่องจากเป็นช่วงความเร็วที่กระแสลมปะทะที่ไหลผ่านตัวรถเริ่มมีแรงมากพอที่จะสร้างแรงกดบนวิงเล็ทได้

เนื่องจากการเพิ่มกลไกมอเตอร์ไฟฟ้าเข้าไป กับการทำให้ชิ้นส่วนวิงเล็ทสามารถขยับไปมาได้ ทาง CFmoto จึงเขียนข้อมูลเพิ่มเติมอีกว่า วิงเล็ทที่พวกเขาออกแบบขึ้นมา จะไม่ได้ถูกออกแบบให้ทำขึ้นจากวัสดุพลาสติกเพียงอย่างเดียวเท่านั้น แต่ยังสามารถขึ้นรูปได้จากทั้งคาร์บอนไฟเบอร์, แผ่นอลูมิเนียม หรือแผ่นไทเทเนียมก็เป็นได้ เพื่อให้มันมีน้ำหนักที่เบาลง แต่ยังคงไว้ซึ่งความแข็งแรงอยู่
โดยแนวคิดระบบวิงเล็ท หรือชี้นส่วนครีบรีดอากาศที่สามารถปรับองศาตามความเร็ว หรือสถานการณ์การใช้งานได้ ก็ไม่ใช่เรื่องใหม่เท่าไหร่นัก ในโลกอุตสาหกรรมยานยนต์ เพราะรถซุปเปอร์คาร์หลากหลายรุ่นในช่วงสิบกว่าปีที่ผ่านมา ก็ใช้สปอยเลอร์หลังที่สามารถปรับองศาตามความเร็วได้กันนานแล้ว

ในฝั่งรถมอเตอร์ไซค์เอง ก็มี Motoguzzi ที่ทำครีบรีดอากาศแบบปรับองศาได้ตามความเร็ว ใน V100 Mandello เพียงแต่มันไม่ได้มีไว้เพื่อคุมแรงกดบนตัวรถ แต่มีไว้เพื่อแหวกลมปะทะหน้ารถออกจากตัวผู้ขี่ เพื่อลดความแปรปรวนของอากาศต่อผู้ขี่นั่นเอง
ทั้งนี้ ทาง CFmoto ไม่ได้มีการเปิดเผยว่าพวกเขาจะใช้เทคโนโลยีระบบวิงเล็ทไฟฟ้า กับรถขายจริงของตนเองเมื่อใด แต่ถ้าดูจากความพยายามในการจัดเต็มออพชันต่างๆ เข้าไปบนรถมอเตอร์ไซค์ของตนเองเสมอมา ก็หมายความว่าเราอาจจะได้เห็นเทคโนโลยีนี้ ถูกนำมาใช้กับรถของตนเองจริงๆ ในอีก 1-2 ปีนับจากนี้แน่นอน (เว้นเสียแต่ว่าทางค่ายจะประเมินแล้วว่า มันไม่คุ้ม และไม่ตอบโจทย์การใช้งานตามที่ทางค่ายออกแบบไว้จริงๆ)
Source Cr.: CycleWorld
อ่านข่าว News Talk เพิ่มที่นี่
อ่านข่าว CFmoto เพิ่มที่นี่
เรื่องราว ข่าวสองล้อที่สาวกไบค์เกอร์ต้องรู้ที่
Website : motowish.com
Facebook : facebook.com/motowish
