ซีอีโอ Ducati สุดเจ๋ง!! คิดนวัตกรรมใหม่ “ล้อซับแรงกระแทกขณะเทโค้ง”

Claudio Domenicali ซีอีโอมากความสามารถของดูคาติ นอกเหนือจากเป็นผู้บริหารมือฉกาจแล้ว อีกมุมหนึ่งเขายังเป็น วิศวกร และนักประดิษฐ์ตัวยงอีกด้วย สิ่งที่เขาคิดล่าสุดนั้นอาจเป็นจุดเปลี่ยนของนวัตกรรมสองล้อเลยก็ว่าได้ นั่นคือ “ล้อรถจักรยานยนต์ที่มีดุมล้อเป็นยางทำหน้าที่เสมือนโช๊คอัพ”
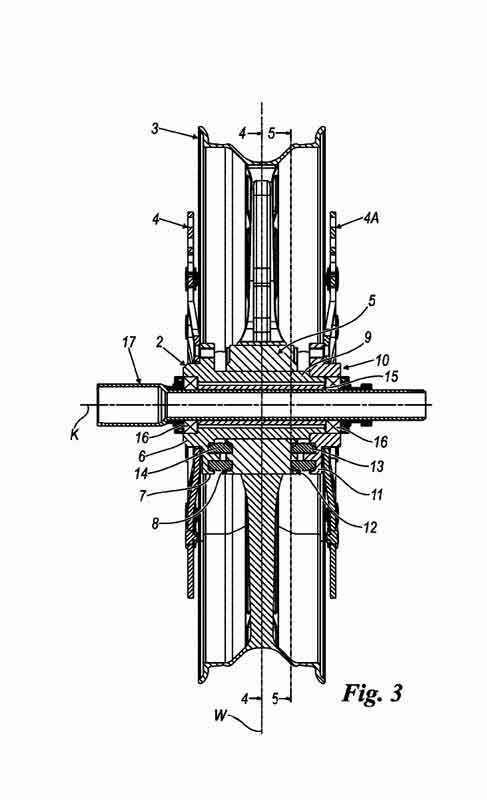
การดีไซน์นี้ได้จดสิทธิบัตรไว้เรียบร้อยแล้ว ไม่ว่าจะเป็นที่ยุโรป อเมริกา และจีน โดยภาพวาดของสิทธิบัตรนี้แสดงให้เห็น วัสดุที่ยืดหยุนได้ถูดติดตั้งอยู่ตรงกลางของดุมล้อ และก้านแม็กซ์ (ส่วนที่มีการแรเงาตรงกลางล้อ)

วัสดุที่อยู่ในดุมล้อ และซี่ล้อแมกซ์ เป็นวัสดุประเภทยาง (แต่ไม่ระบุแน่ชัดว่าเป็นยางชนิดใด) วัสดุที่ติดตั้งอยู่ในดุมล้อ ยังคงใช้ร่วมกับแกนล้อเหมือนกับรถทั่วๆไป แต่จะต่างกันตรงที่แกนล้อตัวนี้มีขนาดยาวกว่า ในสิทธิบัตรไม่ได้ระบุว่าทำไมต้องยาวกว่า แต่มันอาจทำมารองรับชุดลูกปืนล้อ และชิ้นส่วนใหม่ๆ เพื่อให้ซับแรงกระแทกมากขึ้น

Domenicali คิดว่า วิธีนี้จะช่วยซับแรงกระแทกขณะรถเทโค้งได้ นั่นจึงเป็นเหตุผลหลักสำหรับสิ่งประดิษฐ์นี้ เพราะแรงกระแทกที่มาจากพื้นถนนขณะเข้าโค้ง ล้อรถ และทิศทางการกดของโช๊คหน้าไม่สามารถซับแรงกระแทกตรงจุดนี้ได้ ถ้าสิ่งประดิษฐ์นี้ใช้งานได้จริง และให้ผลอย่างน่าทึ่ง นี่อาจเป็นการพัฒนาในลำดับต่อไปในอนาคตให้กับสปอร์ตไบค์รุ่นใหม่ของดูคาติก็เป็นได้
Source Cr.: Morebike
อ่านข่าว Ducati เพิ่มเติมได้ที่นี่
เรื่องราว ข่าวสองล้อที่สาวกไบค์เกอร์ต้องรู้ที่
Website : motowish.com
Facebook : facebook.com/motowish


