Honda จดสิทธิบัตรเทคโนโลยีความปลอดภัยติดตั้งกล้องแทนเซ็นเซอร์หน้ารถ

ฮอนด้าจดสิทธิบัตรเทคโนโลยีกล้องสำหรับความปลอดภัยแทนเซ็นเซอร์หน้ารถโดยไม่กระทบเรื่องความสวยงามของตัวรถ

ฮอนด้าอาจเป็นผู้นำด้านเทคโนโลยีรถจักรยานยนต์ในหลายๆ เรื่อง แต่เรื่องเซ็นเซอร์ความปลอดภัยยังคงตามคู่แข่งอยู่หนึ่งก้าว แต่ก็ใช้ว่าจะไม่มีความก้าวหน้าอะไรเลย ก่อนหน้านี้ทางค่ายได้พัฒนาระบบเรดาร์ทั้งด้านหน้าและด้านหลังติดตั้งไว้บนรถ Honda Gold Wing และ Africa Twin
และในตอนนี้ฮอนด้าได้เปิดเผยสิทธิบัตรด้านความปลอดภัยอีกตัวซึ่งถูกและง่ายกว่า อีกทั้งยังใช้ได้กว้างกว่าระบบเรดาร์ที่มีอยู่ ถึงแม้ว่าระบบดังกล่าวจะได้รับการติดตั้งในรถที่เปิดตัวออกมาแล้วอย่าง Ducati Multistrada V4S, BMW R1250RT และ BMW R1800B, KTM 1289 Adventure S นอกจากนี้คาดว่าในปีหน้าจะได้รับการติดตั้งในรถ Kawasaki H2 SX อีกด้วย

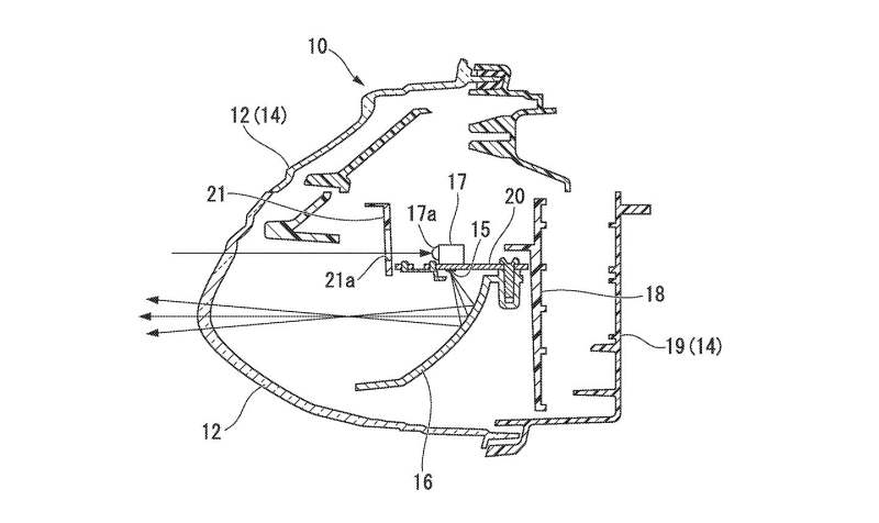
มาว่ากันเรื่องสิทธิบัตรของฮอนด้าตัวนี้ ใช้เซ็นเซอร์กล้อง CCD, MOS หรือ CMOS ซึ่งเซ็นเซอร์กล้องพวกนี้อยู่ในกล้องดิจิตอล 2 ตัว ติดตั้งอยู่ภายในไฟหน้าของตัวรถข้างกับไฟ LED พร้อมกับแผงควบคุมอิเล็กทรอนิกส์ โดยทั้งหมดนี้จะสามารถระบุสิ่งที่อยู่ข้างหน้าได้อย่างชัดเจน บอกความแตกต่าง ระยะห่าง แต่ก็ยังมีข้อจำกัดอยู่หากสภาพอากาศตอนนั้นทัศนวิสัยแย่ หรือมีฝ้าขึ้นมาบดบัง
แต่ถึงอย่างไรก็ตามตัวเซ็นเซอร์กล้องนั้นสามารถระบุสีของสัญญาณไฟจราจร หรือป้ายจราจร หรือไฟเบรก และยิ่งไปกว่านั้นราคาของมันถูกกว่าเรดาร์ เพราะเป็นเหมือนกับกล้องในสมาร์ทโฟนทั่วไปที่มีในท้องตลาด

ตอนนี้ยังไม่มีความชัดเจนว่าเซ็นเซอร์กล้องตามสิทธิบัตรตัวนี้ของฮอนด้าจะเอามาใช้ในรถรุ่นไหน คงต้องรอดูการทดสอบว่าจะเหมาะกับรถประเภทใด
Source Cr.: Cycle World
อ่านข่าว News Talk เพิ่มที่นี่
อ่านข่าว Honda เพิ่มที่นี่
เรื่องราว ข่าวสองล้อที่สาวกไบค์เกอร์ต้องรู้ที่
Website : motowish.com
Facebook : facebook.com/motowish
