Yamaha ผุดไอเดีย ทำ “ครีบรีดลมแบบแปรผันข้างแฟริ่ง” เสริมสมรรถนะ YZF-R1

ในช่วงหลายสิบปีที่ผ่านมา การใส่ใจเรื่องหลักอากาศพลศาสตร์ คืออีกหนึ่งสิ่งที่ผู้ผลิตพยายามวิจัยหนักขึ้นเรื่อยๆ และล่าสุดก็เป็นทาง Yamaha ที่ได้ผุดไอเดียการทำ “ครีบรีดลมแบบแปรผันข้างแฟริ่ง” ขึ้นมา เพื่อเสริมสมรรถนะของตัวรถมอเตอร์ไซค์โมเดลใหม่ๆในอนาคต ซึ่งหนึ่งในนั้นก็อาจเป็น YZF-R1
Yamaha จดสิทธิบัตรไอเดียเทคโนโลยี “ครีบลีดลมแบบแปรผัน” ขึ้น โดยมีจุดประสงค์คือเพื่อให้มันช่วยเสริมสมรรถนะในหลายๆด้านของรถมอเตอร์ไซค์ ไม่ว่าจะเป็นเรื่องของ การระบายความร้อน, การลดแรงต้านอากาศ, หรือแม้แต่การลดมลพิษที่รถปล่อยออกมาขณะใช้งาน

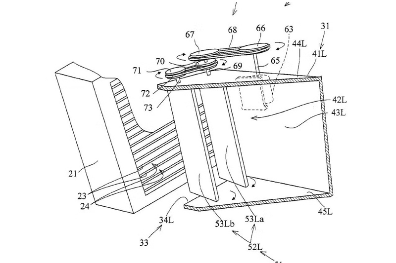
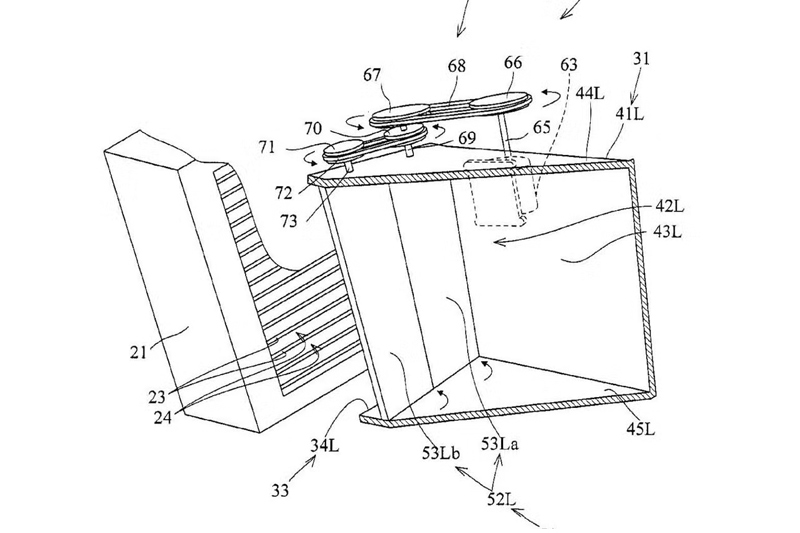
กล่าวคือ ในภาพสิทธิบัตรที่ทุกคนเห็นอยู่ในขณะนี้ จะพบว่ามันคือรถ Yamaha YZF-R1 ที่ถูกดัดแปลงงานออกแบบแฟริ่งข้างใหม่ ให้ตัวช่องลมระบายความร้อนของหม้อน้ำเดิม มีครีบ หรือบานเกล็ด 2 ชั้น ที่สามารถเปิด-ปิด องศาของตัวมันเองได้
โดยครีบแต่ละชั้นจะถูกคุมองศาด้วยระบบกลไกแบบลูกรอกสายพานทางด้านบน ซึ่งจะต่อกับมอเตอร์ไฟฟ้าอีกที และด้วยลักษณะกลไกที่ไม่ได้ซับซ้อนมากนักเช่นนี้ จึงทำให้มันไม่ได้เพิ่มน้ำหนักส่วนเกินให้กับรถเยอะเกินไปด้วย ส่วนหลักการทำงานของช่องระบายความร้อนบนแฟริ่งข้าง ที่มีการติดตั้งชุดครีบที่เปิด-ปิดได้เข้ามานี้ ก็จะแยกออกตามจุดประสงค์ที่มันถูกออกแบบไว้ นั่นคือ

ด้านการควบคุมอุณหภูมิเครื่องยนต์
ในกรณีที่รถกำลังเคลื่อนที่ด้วยความเร็วต่ำ เครื่องยนต์ของรถซุปเปอร์ไบค์มักมีความร้อนสะสมสูง ตัวครีบจะถูกเปิดเอาไว้ เพื่อให้พัดลมหม้อน้ำ สามารถดูดอากาศจากด้านหน้าหม้อน้ำ มาพัดผ่านหม้อน้ำเพื่อระบายความร้อน แล้วให้ลมร้อนระบายออกไปทางด้านข้างของแฟริ่ง ผ่านช่องระบายอากาศนี้ได้ ซึ่งก็เป็นหลักการทั่วไปของการที่รถมอเตอร์ไซค์ส่วนใหญ่จะมีช่องระบายอากาศลักษณะนี้ไว้บนแฟริ่งข้างแทบทุกคันอยู่แล้ว
ในทางกลับกัน สำหรับการสตาร์ทรถในช่วงเช้าท่ามกลางสภาพอากาศหนาว เราก็ต้องการที่จะให้เครื่องยนต์มีอุณหภูมิถึงจุดที่เหมาะสมเร็วๆ เพื่อให้เครื่องยนต์พร้อมใช้งาน ซึ่งตัวครีบนี้ก็จะถูกปิดเอาไว้ เพื่อให้ลมร้อนถูกอบอวนอยู่ข้างในแฟริ่งเพื่อช่วยอุ่นเครื่องยนต์ให้ร้อนไวขึ้นแทน

ด้านการปล่อยมลพิษ
หลายคนอาจจะสงสัยว่า แล้วครีบรีดอากาศมันไปเกี่ยวอะไรกับเรื่องนี้?
แต่สิ่งที่เราจะบอกก็คือ ตัวแคทตาไลติก ที่ใช้ในการกรองมลพิษของไอเสียที่ถูกปล่อยออกมานั้น โดยหลักแล้วมันต้องอาศัยความร้อนในการเผาไหม้ก๊าซพิษ
ดังนั้น เมื่อครีบรีดอากาศนี้ สามารถทำให้เครื่องยนต์ สะสมความร้อนหลังสตาร์ทจนอยู่ในจุดที่เหมาะสมได้เร็วขึ้น ก็หมายความว่าตัวแคทตาไลติกจะยิ่งสามารถสะสมความร้อนเพื่อกรองไอเสียได้เร็วขึ้น ก็จะถือเป็นการช่วยลดการปล่อยมลพิษด้วยในตัว

ด้านการคุมแรงต้านอากาศ
เมื่อรถกำลังเคลื่อนที่ด้วยความเร็วสูง หากเป็นรถมอเตอร์ไซค์ทั่วๆไป ช่องระบายอากาศข้างแฟริ่งหลังหม้อน้ำ มักจะทำให้กระแสลมที่พุ่งมาทางด้านหน้าไหลช้าลง เพราะมันต้องผ่านการกรองจากหม้อน้ำขึ้นมา ทำให้ลมที่ถูกปล่อยออกมาทางช่องลมที่ว่า จะไปต้านกระแสลมที่วิ่งมาทางด้านข้างตัวรถ แล้วก่อให้เกิดแรงฉุด หรือแรงต้านอากาศขึ้น
ดังนั้นเพื่อแก้ไขปัญหาตรงนี้ ตัวครีบที่อยู่ในช่องระบายอากาศ ก็จะปิดลงแทน เพื่อไม่ให้มีลมร้อนไหลออกมาทางด้านข้างแฟริ่งน้อยลง แล้วไหลออกไปด้านข้างตั้งแต่แรกมากขึ้น และทำให้กระแสลมหลักทางด้านข้างตัวรถ สามารถไหลผ่านตัวรถไปได้อย่างราบลื่นกว่าเดิม ช่วยทำให้รถสามารถวิ่งได้เร็วขึ้น เพราะมีแรงต้านอากาศมาคอยกินกำลังเครื่องยนต์น้อยลง
แต่พอเป็นเช่นนี้ หลายคนก็อาจจะสงสัยว่า แล้วลมร้อนที่ผ่านหม้อน้ำ จะระบายออกตอนไหน เครื่องยนต์จะไม่ร้อนขึ้นเหรอ?
เรื่องนี้ก็ไม่ต้องเป็นห่วงไป เพราะในการวิ่งด้วยความเร็วสูง ปริมาณลมที่ปะทะเข้าสู่หม้อน้ำ จะมีมากมายมหาศาลจนทำให้อุณหภูมิเครื่องยนต์ต่ำลงได้ง่ายอยู่แล้ว แม้มันไม่ได้ถูกระบายออกทางแฟริ่งข้าง และหากเป็นการขี่ในสนาม เมื่อถึงเวลาที่ผู้ขี่ต้องเบรกก่อนเข้าโค้ง ตัวครีบก็จะถูกสั่งให้เปิดเพื่อระบายลมร้อนออกโดยทันที ดังนั้นผู้ขี่จึงไม่ต้องกังวลเรื่องความร้อนสะสมมากเกินไปแต่อย่างใด เพราะถ้ามาก เกินไป เดี๋ยวระบบบก็สั่งเปิดครีบให้ก่อนอยู่แล้วเพื่อรักษาสภาพเครื่องยนต์

และท้ายสุด คือเรื่องอัตราการกินน้ำมันเชื้อเพลิง
ซึ่งเรื่องนี้ก็ไม่ได้ซับซ้อนมากนัก เพราะเมื่อในการขี่รถด้วยความเร็วสูง ตัวครีบได้ถูกสั่งให้ปิด เพื่อลดกระแสลมที่ปล่อยออกมาจากช่องระบายอากาศร้อนให้น้อยลง และทำให้กระแสลมข้างตัวรถไหลผ่านรถได้ดีขึ้น มันก็จะทำให้เครื่องยนต์ถูกกินแรงน้อยลง และช่วยประหยัดน้ำมันเชื้อเพลิงด้วยในตัวนั่นเอง
ด้วยจุดประสงค์ และประโยชน์ในการใช้งานข้างต้น จึงหมายความว่าตัวชุดครีบคุมช่องลมระบายความร้อนที่ว่านี้ ไม่ว่าจะเป็นทั้งแบบคุมช่องลมขนาดใหญ่อันเดียว หรือ ช่องลม 2 อัน บน-ล่าง ของแฟริ่งแต่ละข้าง จะทำงานร่วมกับมอเตอร์ ที่ได้รับคำสั่งจากกล่องประมวลผลแยก
ซึ่งอาศัยข้อมูลจากเซนเซอร์ตรวจจับค่าต่างๆของตัวรถ ไม่ว่าจะเป็น อุณหภูมิเครื่องยนต์, อัตราการเปิดคันเร่ง, ความเร่ง และความหน่วง (ตอนเบรก) มาใช้ในการประมวลผลอีกที ว่าตอนนี้ครีบควรจะต้องถูกเปิด หรือปิดเท่าไหร่กันแน่ จึงจะทำให้รถมีประสิทธิภาพในการใช้งานสูงที่สุด
และหากทางค่ายเลือกที่จะนำมันมาใช้งานจริงๆ ก็นับว่าน่าสนใจไม่น้อยเลยทีเดียว โดยเฉพาะกับประเด็นในเรื่องของการช่วยลดอัตราการปล่อยมลพิษ ที่กำลังเป็นประเด็นทำให้ Yamaha YZF-R1 รุ่นล่าสุดไม่สามารถไปต่อได้ในตลาดทวีปยุโรป ณ เวลานี้ ติดแค่เพียงจะเกิดขึ้นเมื่อไหร่ก็เท่านั้น
Source Cr.: CycleWorld
อ่านข่าว News Talk เพิ่มที่นี่
อ่านข่าว Yamaha เพิ่มที่นี่
เรื่องราว ข่าวสองล้อที่สาวกไบค์เกอร์ต้องรู้ที่
Website : motowish.com
Facebook : facebook.com/motowish
