Yamaha เดินหน้าจดสิทธิบัตร “เครื่องยนต์ CP3 พ่วงเทอร์โบไฟฟ้า”

Yamaha ยังคงพยายามสรรหาไอเดียทำเทคโนโลยีใหม่ๆเพื่อเสริมสมรรถนะตัวรถในอนาคตของพวกเขาอยู่เรื่อยๆ และล่าสุดคือการพัฒนาเครื่องยนต์ CP3 ที่เดิมทีก็ได้ชื่อว่ามีพละกำลังสูงอยู่แล้ว ให้มีสมรรถนะสูงขึ้นไปอีก ด้วยการใส่เทอร์โบไฟฟ้าเข้าไป
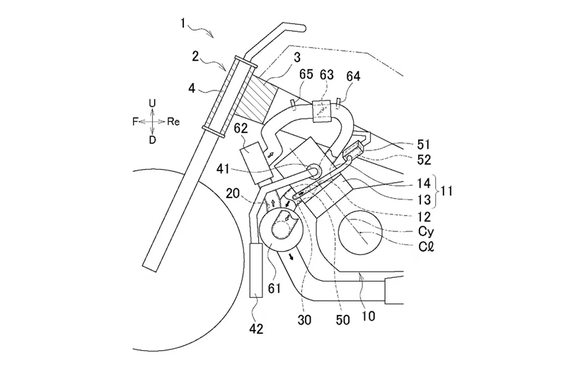
ภาพสิทธิบัตรที่เห็นกันอยู่ในขณะนี้ ถูกจดทะเบียนโดย Yamaha พร้อมอธิบายว่ามันคือภาพไอเดียของการติดตั้งเทคโนโลยีเทอร์โบไฟฟ้า หรือ E-Turbo เข้าไปทำงานร่วมกับเครื่องยนต์ CP3 ซึ่งในตอนนี้ก็มีเพียงแบบเดียวเท่านั้น นั่นคือเครื่องยนต์ 3 สูบเรียง 890cc ที่อยู่ใน Yamaha MT-09, Yamaha YZF-R9, Yamaha XSR900, และ Yamaha Tracer 9 / Tracer 9GT


เนื่องจากข้อมูลที่หลุดมาครั้งนี้ ยังเป็นเพียงข้อมูลสิทธิบัตร จึงทำให้มันถูกมีรายละเอียดที่เปิดเผยแค่เพียงว่า ตัวเทอร์โบไฟฟ้านี้ จะถูกติดตั้งอยู่ในตำแหน่งใด มีชิ้นส่วนใดที่เกี่ยวข้องกับชิ้นส่วนเสริมใหม่นี้บ้าง เป็นต้น และไม่ได้มีการระบุรายละเอียดทางเทคนิคใดๆ โดยเฉพาะเรื่องที่ว่ามันจะช่วยเสริมพละกำลังให้กับเครื่องยนต์ได้อีกมากน้อยแค่ไหนกันแน่ ?
ทั้งนี้ นี่ก็ไม่ใช่ครั้งแรก ที่ทาง Yamaha มีความเคลื่อนไหวเกี่ยวกับการวางแผนเตรียมใส่เทอร์โบเข้าไปทำงานร่วมกับเครื่องยนต์รถมอเตอร์ไซค์ที่พวกเขามี เพราะก่อนหน้านี้เมื่อปี 2020 ทางค่ายก็ได้เคยเปิดเผยข้อมูลของ Yamaha MT-10 ร่างต้นแบบ ที่ถูกถอดเครื่องยนต์ CP4 ขนาด 999cc ทิ้งไป แล้วถูกแทนที่ด้วยเครื่องยนต์ 3 สูบเรียง 847cc ของ MT-09 ณ ช่วงเวลานั้น แต่ต่างจากปกติตรงที่มันได้รับการติดตั้งเทอร์โบ พร้อมส่วนพ่วงต่างๆ เช่นท่ออากาศ และแผงอินเตอร์คูลเลอร์ระบายความร้อนไอดีเข้าไป

โดยข้อมูลของการพัฒนาเครื่องยนต์ในครั้งนั้น ระบุว่ามันทำให้เครื่องยนต์สามารถปั่นแรงม้าได้มากถึง 180 ตัว และทำแรงบิดสูงสุดได้มากขึ้นอีกเป็นราวๆ 176.3 นิวตันเมตร แถมยังช่วยลดอัตราการปล่อยก๊าซคาร์บอนได้ออกไซด์ลงได้ถึง 30% แต่ด้วยความซับซ้อนของชิ้นส่วนระบบท่อไอเสีย ที่ต้องเพิ่มระยะออกมาปั่นใบเทอร์โบ ทำให้มันอาจสร้างความวุ่นวายในการดูแลรักษาให้กับผู้ใช้ รวมถึงช่างศูนย์มากเกินไป และยังอาจจะเพิ่มน้ำหนักตัวรถมากเกินไป จนทำให้รถเสียสมดุลในการควบคุมอีกด้วย จึงทำให้โปรเจ็กท์ครั้งนั้น ไม่ได้มีการอัพเดทข้อมูลใดๆเพิ่มเติม
จนกระทั่งการมาของสิทธิบัตรชุดใหม่นี้ ที่ดูเหมือนว่าจะถูกทำขึ้นมาเพื่อแก้ไขปัญหาในอดีต เพราะในเมื่อตอนนี้ตัวใบเทอร์โบ สามารถดูดแล้วอัดไอดีได้เลย โดยอาศัยกำลังในการหมุนจากมอเตอร์ไฟฟ้า ไม่จำเป็นต้องรอไอเสียจากเครื่องยนต์มาปั่นใบเทอร์โบฝั่งไอเสียอีกต่อไป

ดังนั้นการใส่เทอร์โบไฟฟ้าเข้ามา จึงทำให้มันช่วยลดความซับซ้อนของชิ้นส่วนต่างๆจากตอนที่ใช้เทอร์โบธรรมดาๆได้เป็นอย่างดี เพราะไม่จำเป็นต้องมีการเดินแนวท่อไอเสียให้ย้อนกลับมาปั่นใบเทอร์โบใดๆทั้งสิ้น แต่ก็จะแลกกับความซับซ้อนในการจัดการเรื่องของระบบไฟ และระบบจ่ายไฟให้กับมอเตอร์ปั่นใบเทอร์โบอีกที ซึ่งก็คงไม่ใช่เรื่องยากเท่าไหร่นัก เพราะสิ่งที่ต้องกังวลก็มีเพียงเรื่องของกำลังไฟ และการาจัดวางตำแหน่งแหล่งพลังงานให้กับมอเตอร์เทอร์โบไฟฟ้าเท่านั้น
โดยแม้การใส่เทอร์โบเข้ามา อาจทำให้ใครหลายคนคาดหวังในเรื่องของความแรง แต่ในทางกลับกัน มันก็อาจเป็นเทคโนโลยีที่ถูกพัฒนาขึ้นมาเพื่อให้เครื่องยนต์ลูกเล็ก สามารถทำกำลังได้ทัดเทียมเครื่องยนต์ลูกใหญ่ เพื่อทำหน้าที่แทนกันในอนาคตอันใกล้ ที่กฎหมายมลพิษมีความเข้มงวดขึ้นเรื่อยๆก็ได้
ส่วนกำหนดการนำมาใช้กับตัวรถร่างขายจริง ก็คาดว่าอาจจะเกิดขึ้นในเร็วๆนี้เช่นกัน โดยมันอาจจะเกิดขึ้นหลังจากที่ทาง Honda เปิดตัวรถซึ่งมาพร้อมกับเทคโนโลยีเครื่องยนต์ V3 E-Compressor ภายในสิ้นปีนี้ก็เป็นได้
Source Cr.: Visordown, CycleWorld
อ่านข่าว News Talk เพิ่มที่นี่
อ่านข่าว Yamaha เพิ่มที่นี่
เรื่องราว ข่าวสองล้อที่สาวกไบค์เกอร์ต้องรู้ที่
Website : motowish.com
Facebook : facebook.com/motowish
